理想汽车海外业务取得关键突破,成功登陆埃及、哈萨克斯坦、阿塞拜疆三个重要市场,推出L9、L7、L6三款主力车型。通过多元化布局模式,品牌已完成横跨中亚、高加索及非洲核心区域的战略部署,全球化进程进入实质性落地阶段。

科研团队成功研发出小于一毫米的自主可编程微型机器人,配备内置计算机和传感器,能够在人体内自主穿梭并修复受损部位,为未来精准医疗和微创治疗带来革命性突破。

福特汽车因下调电动车发展目标,终止与LG新能源价值65亿美元的电池供应协议。受政策调整和需求预期变化影响,福特暂停部分电动车型生产,此举反映了电动汽车行业进入更具不确定性的竞争阶段。

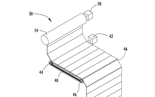
福特汽车申请可卷曲乘客显示系统专利,该技术采用柔性显示屏设计,能像窗帘一样收纳展开,可安装在车顶或后备箱区域,为后排乘客提供灵活的观影体验,展现了车载显示技术的创新发展方向。

比亚迪正式申请加入全球智慧物联网联盟,将与联盟共同推进人车家全场景互联标准制定。双方将在AI智能体层面协同创新,推动车规级鸿蒙设备与家用终端技术融合,实现车控家和家控车双向互联功能。
