东盟电动车市场快速增长,越南VinFast领跑,中国车企加速布局。但供应链割裂和基础设施不均等问题制约发展,区域协同或成未来关键。

图达通通过全矩阵激光雷达产品推动物理AI在自动驾驶与机器人领域落地,覆盖L3级驾驶、无人配送及智慧交通等多场景应用,助力感知技术商业化进程。

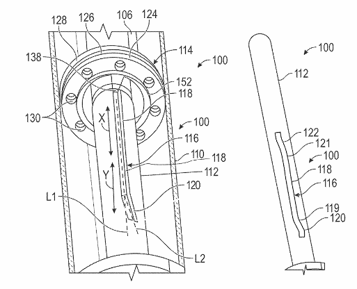
通用汽车最新专利通过机械式调节阻尼特性,无需电子设备即可实现悬架运动适应性,创新导向槽结构为减震器系统带来新突破,专利公开引发行业关注。

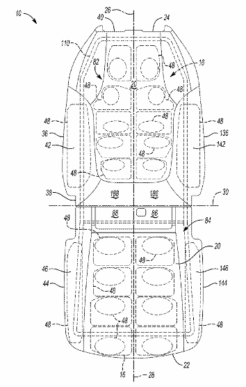
通用汽车专利座椅系统通过气囊与泡沫材料结合,实现座椅尺寸与支撑区域的动态调节,为驾乘者提供个性化舒适体验,标志着汽车舒适性技术的重要突破。

